AC generators in power stations use electromagnetic induction to convert kinetic into electrical energy. Electromagnetic induction is then used in transformers to transmit the electricity efficiently to where it is needed.
Key Concepts
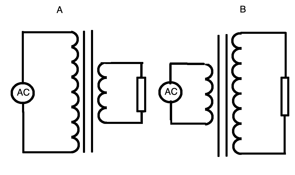
A transformer consists of two coils - primary and secondary. The primary coil produces a changing magnetic field due to the alternating current supplied within. The secondary coil cuts the changing magnetic flux and a changing EMF is induced, causing a current to flow. The strength of the magnetic field is increased by the presence of the solf iron core.
The process of transmitting electrical power from a generator to a town is optimised to reduce thermal energy losses.
The main culprit is usually thermal energy loss in power lines, due to the size of the current. To reduce this current and hence the wasted energy:
- A step-up transformer is used before the power lines (to increase voltage an reduce current)
- A step-down transformer is used after the power lines (to reduce voltage to an acceptable size for household use)
How much of Transformers have you understood?




