| Date | May 2018 | Marks available | 1 | Reference code | 18M.1.SL.TZ1.19 |
| Level | Standard level | Paper | Paper 1 | Time zone | 1 |
| Command term | Question number | 19 | Adapted from | N/A |
Question
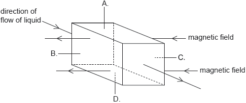
A liquid that contains negative charge carriers is flowing through a square pipe with sides A, B, C and D. A magnetic field acts in the direction shown across the pipe.
On which side of the pipe does negative charge accumulate?

Markscheme
A
Examiners report
[N/A]
