| Date | May 2018 | Marks available | 1 | Reference code | 18M.1.SL.TZ1.19 |
| Level | Standard level | Paper | Paper 1 | Time zone | Time zone 1 |
| Command term | Question number | 19 | Adapted from | N/A |
Question
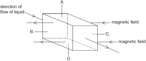
A liquid that contains negative charge carriers is flowing through a square pipe with sides A, B, C and D. A magnetic field acts in the direction shown across the pipe.
On which side of the pipe does negative charge accumulate?

Markscheme
A
Examiners report
[N/A]
Syllabus sections
Show 51 related questions
- 18M.1.SL.TZ2.21: A beam of electrons moves between the poles of a magnet. ...
- 18M.2.SL.TZ1.5b: Calculate, in N, the magnitude of the magnetic force acting on the electron.
- 18M.2.SL.TZ1.5a: State the direction of the magnetic field.
- 17N.2.HL.TZ0.2c: The cable between the satellites cuts the magnetic field lines of the Earth at right...
- 17N.1.SL.TZ0.20: The diagram shows two current-carrying wires, P and Q, that both lie in the plane of the...
- 17N.1.HL.TZ0.18: The diagram shows the magnetic field surrounding two current-carrying metal wires P and...
- 17M.2.HL.TZ2.6d: The two cables in part (c) are suspended a constant distance apart. Explain how the magnetic...
- 17M.1.HL.TZ2.17: The diagram shows the path of a particle in a region of uniform magnetic field. The field is...
- 17M.1.SL.TZ2.21: A positively-charged particle moves parallel to a wire that carries a current...
- 17M.1.SL.TZ1.21: An electron travelling at speed v perpendicular to a magnetic field of strength B experiences...
- 17M.1.SL.TZ1.15: Two pulses are travelling towards each other. What is a possible pulse shape when the...
- 16M.2.SL.TZ0.5d: The diagram shows a cross-sectional view of the connecting wire in (c). The wire which...
- 16N.1.SL.TZ0.21: A wire carrying a current \(I\) is at right angles to a uniform magnetic field of strength B....
- 16M.1.SL.TZ0.21: ...
- 15M.1.HL.TZ1.32: An ion follows a circular path in a uniform magnetic field. Which single change decreases the...
- 15M.1.SL.TZ2.21: A long, straight, current-carrying wire is placed between a pair of magnets as shown. What is...
- 15M.2.HL.TZ1.8a: Identify, on the diagram, the direction of the force on the coil with the current directions...
- 15M.2.HL.TZ1.8b: Calculate the maximum magnetic force acting on the coil.
- 14M.1.SL.TZ1.20: Three parallel wires, X, Y and Z, carry equal currents. The currents in X and Z are directed...
- 14M.1.SL.TZ1.21: Point P is at the same distance from two charges of equal magnitude and opposite sign. What...
- 14M.1.SL.TZ2.19: An electron is travelling in a region of uniform magnetic field. At the instant shown, the...
- 14M.2.SL.TZ1.3a: Calculate the magnitude of the electric force acting on the proton when it is in the electric...
- 14M.2.SL.TZ1.3b: A uniform magnetic field is applied in the same region as the electric field. A second proton...
- 15N.2.HL.TZ0.9f: Deduce what happens to the reading on the electronic balance when the current is switched on.
- 15N.2.HL.TZ0.9g.i: Calculate the magnetic force acting per unit length on the upper section of wire.
- 15N.2.HL.TZ0.9h: The upper section of wire is adjusted to make an angle of 30° with the lower section of wire....
- 15N.1.SL.TZ0.23: An electron is moving parallel to a straight current-carrying wire. The direction of...
- 14M.2.SL.TZ2.5f: The diagram shows a current I in a vertical wire that passes through a hole in a horizontal...
- 14M.2.SL.TZ2.5g: (i) The diagram shows a length of copper wire that is horizontal in the magnetic field of...
- 11N.1.SL.TZO.21: The diagram shows two long wires X and Y carrying identical currents in the same...
- 12N.1.SL.TZ0.24: The magnetic field produced by a current in a straight wire is in A. the same direction as...
- 13N.1.HL.TZ0.25: A metal rod M is falling vertically within a horizontal magnetic field. The metal rod and...
- 13M.2.SL.TZ1.7c: The diagram shows two isolated electrons, X and Y, initially at rest in a vacuum. The initial...
- 12M.1.SL.TZ1.21: Three parallel wires, X, Y and Z, carry equal currents into the page. Which arrow...
- 12M.1.SL.TZ2.21: Which of the following will not give rise to a magnetic field? A. A moving electronB. A...
- 12M.1.HL.TZ1.19: A proton p is at rest between the poles of two horizontal magnets as shown below. The...
- 11M.1.SL.TZ2.21: A long straight wire carries an electric current perpendicularly out of the...
- 11M.1.HL.TZ2.22: A long straight wire...
- 13M.1.SL.TZ2.21: Three wires, P, Q and R, carry equal currents directed into the plane of the paper. Which...
- 12N.2.SL.TZ0.2a: State how a magnetic field arises.
- 12N.2.SL.TZ0.8a: State Ohm’s law.
- 12N.2.SL.TZ0.2b: On the diagram below, sketch the magnetic field pattern around the long straight...
- 12N.2.SL.TZ0.8b: A lighting system is designed so that additional lamps can be added in parallel. The...
- 13N.2.SL.TZ0.4c: Protons travelling with a speed of 3.9×106ms–1 enter the region between two charged parallel...
- 11M.1.SL.TZ1.21: An electron passes the north pole of a bar magnet as shown below. What is the direction of...
- 11M.2.SL.TZ1.2a: The electron’s path while in the region of magnetic field is a quarter circle. Show that...
- 09M.1.HL.TZ1.23: A current carrying wire is in the same plane as a uniform magnetic field. The angle between...
- 10M.1.SL.TZ1.21: An electron travelling in the direction shown by the arrow X, enters a region of uniform...
- 10N.1.SL.TZ0.19: A current is established in a coil of wire in the direction shown. The direction of the...
- 10N.1.SL.TZ0.22: An electron enters the vacuum between two oppositely charged plates with velocity \(v\). The...
- 09N.1.SL.TZ0.21: A positively charged particle enters the space between two charged conducting plates, with a...
